AV-37 Bronze Pressure Relief Valve, Screwed Ends


  • AV-37 | Bronze Pressure Relief Valve, Screwed Ends
    Features

    Type of Pattern

    Right Angle Pattern

    Body Material Cum Standard

    Bronze (BS EN 1982 Gr. CC491K)

    Product Description

    Spring Loaded, Enclosed Discharge

    Type of Seat

    Integral Seat

    Type of Disc

    Renewable Disc

    Trim

    Cu-Alloy

    End Details

    Screwed Male Inlet & Female Outlet BSP Parallel Threads (BS-21)

    Test Pressure

    Body: 300 Psig (Hyd.)

    Max. Working Pressure

    150 Psig (Steam)

    Max. Set Pressure

    150 Psig (Steam)

    Notes

    Other screwed end specifications can be provided on request.


    Suitability

    Water

    Steam

    Gas

    Oil

    Air


  • Material Combination
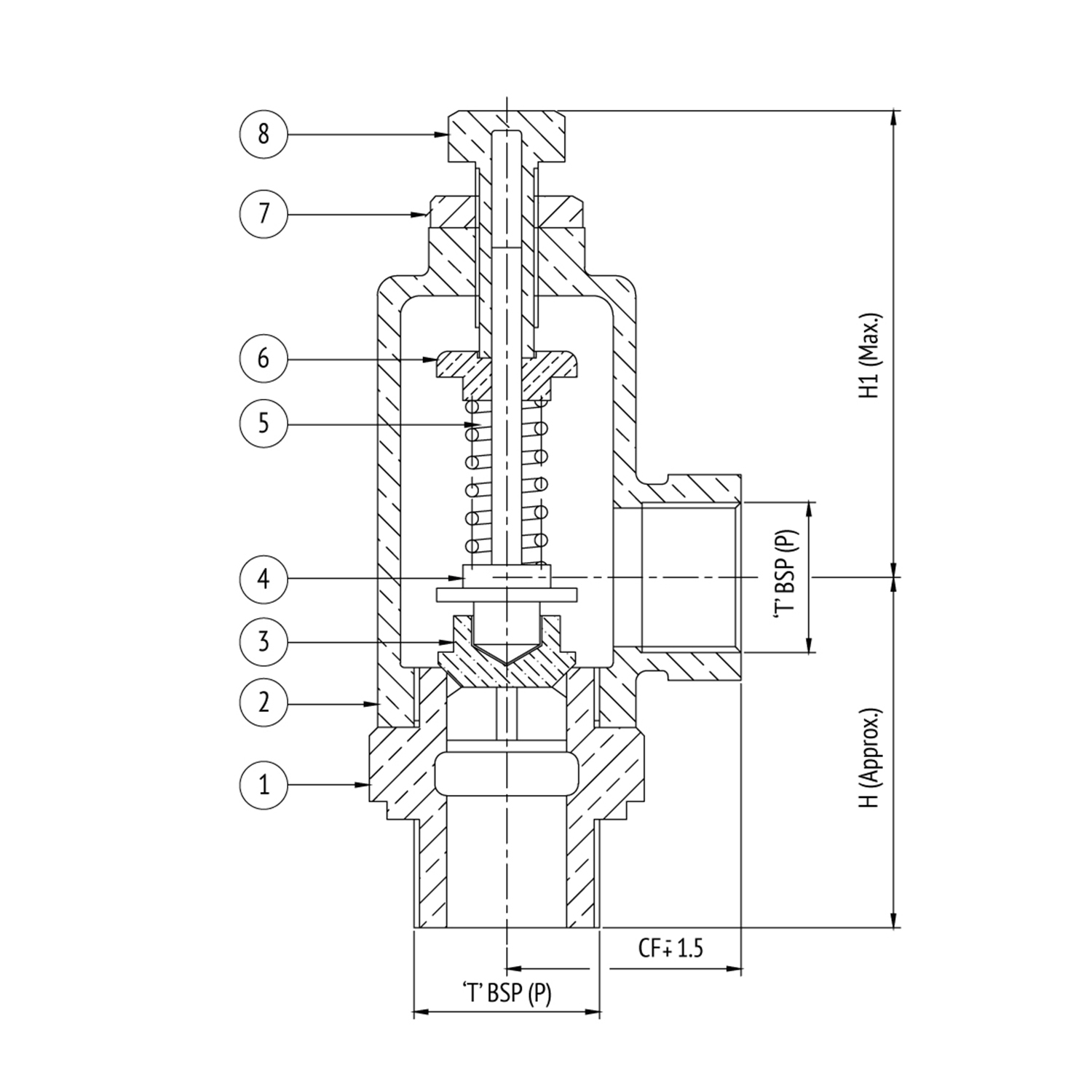
    S.No Description No. Material Specifications
    1 Body 1 Bronze BSEN 1982 Gr. CC491K
    2 Spring Chamber 1 Bronze BSEN 1982 Gr. CC491K
    3 Disc 1 Bronze BSEN 1982 Gr. CC491K
    4 Stem 1 Brass IS 6912 Gr. FLB
    5 Spring 1 Carbon Steel EN 44
    6 Spring Disc 1 Bronze BSEN 1982 Gr. CC491K
    7 Locking Nut 1 Bronze BSEN 1982 Gr. CC491K
    8 Adjusting Screw 1 Bronze BSEN 1982 Gr. CC491K
    AV-37 | Bronze Pressure Relief Valve, Screwed Ends
  • Dimensional Data
    Size (mm) CF H H1 T
    15 38 60 98 1/2”
    20 39 63 112 3/4”
    25 48 66 122 1”
    32 50 71 124 1.1/4”
    40 59 80 140 1.1/2”
    50 59 100 165 2”
  • AV-37 | Bronze Pressure Relief Valve, Screwed Ends
    Product Inquiry
Features

Type of Pattern

Right Angle Pattern

Body Material Cum Standard

Bronze (BS EN 1982 Gr. CC491K)

Product Description

Spring Loaded, Enclosed Discharge

Type of Seat

Integral Seat

Type of Disc

Renewable Disc

Trim

Cu-Alloy

End Details

Screwed Male Inlet & Female Outlet BSP Parallel Threads (BS-21)

Test Pressure

Body: 300 Psig (Hyd.)

Max. Working Pressure

150 Psig (Steam)

Max. Set Pressure

150 Psig (Steam)

Notes

Other screwed end specifications can be provided on request.

Download PDF

Suitability

Water

Steam

Gas

Oil

Air


Material Combination
S.No Description No. Material Specifications
1 Body 1 Bronze BSEN 1982 Gr. CC491K
2 Spring Chamber 1 Bronze BSEN 1982 Gr. CC491K
3 Disc 1 Bronze BSEN 1982 Gr. CC491K
4 Stem 1 Brass IS 6912 Gr. FLB
5 Spring 1 Carbon Steel EN 44
6 Spring Disc 1 Bronze BSEN 1982 Gr. CC491K
7 Locking Nut 1 Bronze BSEN 1982 Gr. CC491K
8 Adjusting Screw 1 Bronze BSEN 1982 Gr. CC491K
Dimensional Data
Size (mm) CF H H1 T
15 38 60 98 1/2”
20 39 63 112 3/4”
25 48 66 122 1”
32 50 71 124 1.1/4”
40 59 80 140 1.1/2”
50 59 100 165 2”

Selected Product

AV-37 Bronze Pressure Relief Valve, Screwed Ends

Enter Product Query

Site Credits : Seigospace